Традиционное содержание в клетках
Перед тем как заняться разведением кроликов, нужно решить, где они будут обитать. Постройки для содержания кроликов должны быть дешевыми, удобными при обслуживании, достаточно светлыми и сухими. Кроликов содержат на открытом воздухе и в закрытых помещениях. В первом случае взрослых кроликов помещают в индивидуальные клетки. Внутри клетки оборудуют кормовое отделение с кормушкой, поилкой и гнездовое отделение. В гнезде пол делают деревянным, без щелей, стены утепляют, потолок двойной и тщательно утепленный. В кормовом отделении пол делают из сетки с размером ячеек 2?2 см.
Для молодняка пригодны клетки, состоящие из двух отделений: выгула и убежища. В убежище молодняк попадает через специальные лазы. Пол везде делают из сетки. Клетки оборудуют кормушками для сена (ясли), концентрированных кормов и минеральных подкормок, поилками. Для сена и зеленых кормов кормушку делают в виде обрешеченного треугольника, в который закладывают эти корма. Доступ к грубым кормам и траве обеспечен для двух отделений одновременно. В этой кормушке вместо обрешетки можно использовать крупную ячеистую сетку.
Наружное клеточное содержание кроликов благоприятно для выращивания здоровых, не чувствительных к заболеваниям зверьков. Однако содержание животных на открытом воздухе зимой, когда температура воздуха снижается до –20 °C и более, имеет и отрицательные стороны: обморожения, замерзания, кроме того, кормление может проводиться только сухими кормами.
При содержании кроликов в закрытом помещении надо учитывать, что в крольчатнике температура воздуха не должна быть ниже –6 °C, продолжительность светового дня – около 17 часов. Клетки лучше строить двухъярусные, секциями или блоками по нескольку секций в ряд, под одной влагонепроницаемой крышей. Они должны быть приподняты на 40–60 см от пола.
На время окрола и выращивания молодняка в клетку крольчихи рекомендуется вставлять маточник, имеющий размеры 50?30?27 см с лазом 18?18 см. Маточник легко вынимается из клетки; это удобно, если нужно осмотреть крольчат. Немаловажно и то, что в нем сохраняется более равномерная температура.
Для содержания взрослых кроликов, а также отсаженного от маток молодняка удобны одно-, двухместные клетки с сетчатыми выгулами-вольерами.
Длина двухместной клетки с вольерой – 2 м, ширина – 1,65 м, в том числе ширина клетки – 0,65 м, высота передней стенки – 0,75 м, задней стенки и вольеры – 0,6 м. Из клетки в выгул ведет лаз, который можно перекрывать вставной перегородкой. Пол в клетках сетчатый (величина ячейки 18?18 или 16?48 мм); во время окролов и в холодное время на пол кладут сплошные деревянные щиты.
Молодняк обычно содержат в групповых клетках, представляющих собой деревянный каркас, задние и боковые стенки и крыша которого деревянные, а передняя стенка и пол – сетчатые. Крышу изготавливают из теса с козырьком размером 30 см. Длина клеток должна быть 2,0–4 м ширина – 1 м, высота передней стенки – 0,5 м, задней стенки – 0,4 м. В передней стенке устраивают две дверцы, на которые крепятся самоопрокидывающиеся кормушки и поилки, ясли для сена и травы.

Двухместная клетка с сетчатым выгулом-вольером

Групповая клетка для отсаженного молодняка (размеры в см)
Устанавливать клетки под открытым небом не совсем удобно, так как приходится работать под дождем и снегом, на ветру и морозе, без всякой механизации раздачи кормов и воды. Гораздо рациональнее шедовое содержание.
Шед представляет собой сарай с каркасом из дерева, металла, железобетона. Боковыми стенами служат сами клетки, установленные в два яруса, фасадами вовнутрь.
Торцовые стены выполнены в виде двустворчатых дверей. Двускатная крыша сарая несколько приподнята над клетками и имеет вид фонаря, стенки которого застеклены. В шеде кролики защищены от ветра, дождя и снега. Для раздачи кормов в шеде можно смонтировать подвесную дорогу для передвижения емкости с кормами.
Крольчатник можно построить из бревен, досок, кирпича.
Стены крольчатника должны быть плотными, без щелей – во избежание сквозняков, которых боятся кролики, и проникновения мышевидных грызунов и более крупных хищников.
Пол сарая также должен быть плотным, без щелей и иметь небольшой уклон в сторону входа, что облегчит уборку.

Шед с двухъярусным расположением клеток
Помещение крольчатника должно быть достаточно светлым и хорошо проветриваться посредством окон, вентиляционных труб и отверстий. Недостаток света и чистого воздуха – основная причина «пухлявости» кроликов, т. е. ухудшения волосяного покрова. Пух становится редким, тонким.

Крольчатник для садового участка:
1 – глухая дверь; 2 – сетчатая дверь; 3 – окна; 4 – вентиляционная решетка; 5 – дверь-окно чердака-сеновала; 6 – балкончик; 7 – перила балкончика; 8 – лестница; 9 – люк для сброса сена; 10 – крышка люка; 11 – сетчатое ограждение выгула; 12 – дверь крольчатника в выгул; 13 – ларь для сбора навоза; 14 – крышка ларя, 15 – окно-люк для выброса навоза в ларь; 16 – вентиляционные трубы
Крышу сарая лучше сделать односкатной. Она является дополнительной площадкой для сушки сена на зиму. Для подъема травы на крышу используется лестница, пристроенная к навесу крыльца. Здесь же, над навесом, устанавливается окно на чердак для закладки готового сена.
У двери сарая, снаружи, устраивают облицованную, закрывающуюся яму для складирования и хранения навоза. В стене сарая над ямой делают закрывающийся люк.
В сарае необходимо выделить уголок для хранения инвентаря и кормов. Для хранения сена и веников используется сеновал, сообщающийся с помещением крольчатника, кроме наружных, еще и внутренними люком и лестницей.
У южной стены крольчатника можно устроить летний сетчатый выгул для молодняка. Двери крольчатника делают двойными: первая – плотная, дощатая, а вторая – сетчатая. Находясь летом в огороде, можно держать сарай закрытым только сетчатой дверью, что создаст дополнительную вентиляцию и освещение крольчатника.
Для содержания кроликов с закладкой корма на 1–2 недели необходимы усовершенствованные клетки и приспособления для закладки кормов и запаса воды.

Схема расположения вольер и клеток в крольчатнике размером 5?3 м: а – вольеры для отсаженного молодняка; б – клетки для маточного и ремонтного поголовья кроликов; в – проходы; г – двери; д – открытый выгул; е – емкости для сбора навоза и стока мочи; ж – место для устройства люка на сеновале, хранения кормов и инвентаря
В крольчатнике вдоль стен устанавливают вольеры для молодняка, а в центре – клетки маточного поголовья. Для более полного использования площади крольчатника клетки устанавливают в два и даже в три яруса. Надо только контролировать, чтобы из верхних клеток в нижние не попадали моча и кал.
Клетки могут быть изготовлены из самых различных строительных материалов. Перечислим основные требования, предъявляемые к клетке, в которой предусматривается содержание кроликов с закладкой корма на 1–2 недели. Маточное отделение должно иметь размеры 40?70?60 см, светлое отделение – 60?70?60 см. В светлом отделении устанавливают ясли для сена и травы, кормушки и автопоилки. Реечная или сетчатая решетка устанавливается на высоте 10–15 см от пола (на 5–10 см – в маточном отделении). Пространство между полом и решеткой обеспечивает скопление навоза и гарантирует чистоту в клетке в течение месяца. Но летом необходимо убирать навоз из-под решетки чаще, так как, разлагаясь, он выделяет вредные для кроликов газы, а в самом навозе появляются черви.

Схема клетки
Реечный настил в темном маточном отделении клетки должен быть ниже на 5–10 см, чем в светлом. В противном случае перед окролом решетку из гнездового отделения необходимо убрать или перевернуть так, чтобы она плотно легла на пол клетки. И только потом ставить гнездовой ящик или положить обильную подстилку. Вдоль задней стенки кормового отделения крепятся две кормушки: одна – для комбикорма, другая – для сочных кормов, отходов со стола и влажных мешанок. Обе кормушки сверху закрываются общей крышкой. На ней крольчиха может отдыхать от подросших крольчат.
Размеры клетки с двумя отделениями для содержания взрослых кроликов стандартны: общая длина клетки – 120 см, ширина – 70 см, высота – 60 см.
Для молодняка лучше делать более просторные вольеры, также с двумя отделениями, что облегчает уборку клетки, так как есть возможность содержать кроликов в одном отделении, а другое в это время чистить. Надо учитывать, что при групповом содержании молодняка после отсадки на каждого кролика должно приходиться от 0,15 до 0,20 м2 площади на сетчатом полу вольеры и от 0,20 до 0,30 м2 на сплошном деревянном полу.

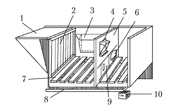
Общий вид клетки с приспособлениями для закладки кормов на 1–2 недели:
1 – бункер кормушки яслей для закладки травы и грубых кормов; 2 – решетка яслей; 3 – кормушка для корнеплодов и отходов со стола, прикрытая крышкой, которая одновременно служит полкой для отдыха крольчихи; 4 – кормушка для комбикорма; 5 – перегородка, разделяющая клетку на кормовое и гнездовое отделения; 6 – лаз; 7 – напольная реечная решетка; 8 – желоб для стока мочи и скатывания помета; 9 – навозосборник; 10 – задвижка для закрывания лаза
Если размеры площади клеток можно оставить стандартными, то кормушки надо увеличить соответственно в 5–10 раз. Ясли для закладки грубых кормов необходимо устраивать снаружи клетки. В кормовом отделении клетки, на задней стенке и на перегородке, подвешивают вместительные кормушки для зерна и комбикорма, для сочных кормов и хлебных отходов, а также автопоилка. Поскольку все эти приспособления подвешиваются к стенкам клетки на определенной высоте от пола, то места они занимают мало.
Особое внимание надо уделить клетке для содержания сукрольной и лактирующей самки. Такая клетка состоит из двух отделений: маточного с глухой дверцей и кормового с решетчатой дверцей. В разделяющей перегородке на высоте 15–20 см от пола возле задней стенки клетки устраивается лаз размером 18?18 см.
Вдоль одной из стен крольчатника устанавливаются в 2–3 яруса клетки или вольеры для доращивания молодняка. В сарае длиной 5 м вдоль стены можно разместить 6 вольер (по две в каждом ярусе). Размеры вольер: длина – 160 см, ширина – 80 см, высота – 50 см. Общая площадь одной вольеры – 12800 см2. А так как по нормам на одного кролика должно приходиться по 0,15–0,20 м2 площади клетки, то в каждой из них можно содержать по 6–9 кроликов.
Начинать строительство лучше с сооружения плотных стеллажей шириной 70 см для клеток и 80–90 см для вольер вдоль всей стены, с наклоном вперед от стены и в сторону дверей. Первый, нижний, стеллаж устанавливают на высоте 40–50 см от пола крольчатника и крепят жесткими кронштейнами, второй – на высоте 75 см от нижнего, а третий – на такой же высоте от второго, опирая их друг на друга рейками. Крышей третьего яруса клеток будет служить потолок крольчатника.
Стеллажи покрывают толем, жестью, линолеумом или другим непромокаемым материалом. По краю каждого стеллажа проводят желоб из жести для стока мочи и скатывания кала. Затем стеллажи делят на клетки или вольеры. Сетчатые дверцы устраивают на деревянных или сваренных из стального уголка рамках.
На стенках клетки и дверцах крепят кормушки и автопоилки. На пол устанавливают съемные деревянные решетки или металлические сетки на высоте 10–15 см от пола клетки. Рейки решетки крепят на расстоянии 1,5–2 см друг от друга, а сетка должна быть с ячейкой 2?2 см, или специальная – с ячейкой 1,6?4,8 см. Решетки устанавливают горизонтально. Они предотвратят соприкосновение кроликов с мочой и калом. Скапливающийся под решетками навоз удаляют специальным скребком в металлический или деревянный ящик.
Более 800 000 книг и аудиокниг! 📚
Получи 2 месяца Литрес Подписки в подарок и наслаждайся неограниченным чтением
ПОЛУЧИТЬ ПОДАРОКДанный текст является ознакомительным фрагментом.